過濾的分類
過濾器的過濾是利用過濾介質將固體和液體分離的單元操作,可分為澄清過濾和濾餅過濾
過濾器的澄清過濾又分為以下四類:
(1)顆粒過濾(PF即particle filtration);
(2)微孔過濾(MF即micro filtra-tion);
(3)超過濾(UF即utra filtration);
(4)反滲透(RO即reverse osmosis)。其中,顆粒過濾又稱內部過濾(inner filtration或深層過濾(deep or depth filtration)或粒狀層過濾( granular bed filtration)。
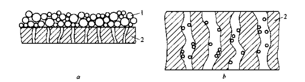
濾餅過濾又稱表面過濾(surface fitraion)。過濾時,先由濾布等的表面截留懸浮顆粒,而后由逐漸增厚的濾餅繼續截留顆粒。其操作目的主要是對懸浮液進行濃縮及回收固體。
濾餅過濾和深層過濾的模型“兩種不同的過濾方式示意圖”。

a-濾餅過濾;b-深層過濾
1-(過濾器)濾餅;2-(過濾器)過濾介質
不同顆粒尺寸所對應的過濾分離方式

(咨詢過濾器,油過濾器、空氣過濾器,過濾器型號,濾芯、濾材請致電咨詢我公司新鄉市創藍過濾技術有限公司。)
聯系人:王經理
手 機:1567056000113183108783
郵 箱:sales@cl-filter.com
公 司:新鄉市創藍過濾技術有限公司
地 址:河南省新鄉市創業路1號高新技術產業園